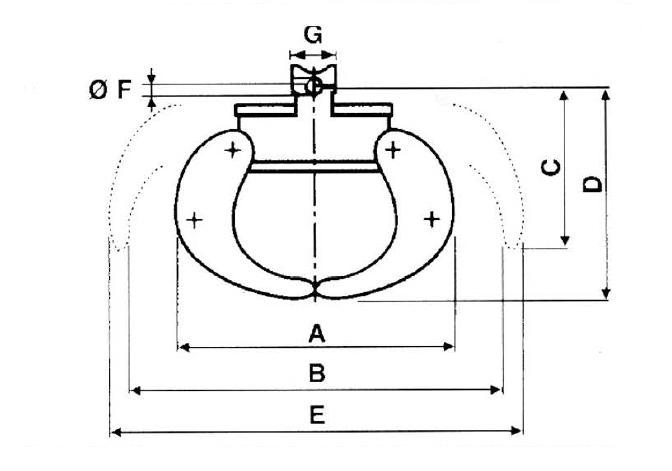
Грейфер для металлолома FSG
Обращаем внимание на правильность подбора крана манипулятора для работы с металлоломом и лесом
Фасси производит краны манипуляторы для аккуратного обращения со штучными грузами.
Фасси производит краны манипуляторы для аккуратного обращения со штучными грузами.
Главными достоинствами такого крана являются вылет, грузоподъемность, плавность и отзывчивость управления, в комплексе с невысокой собственной массой. фасси предлагает сбалансированые решения для повседневного использования: погрузо-разгрузочные и монтажные работы. Данные краны имеют определенный ресурс именно для такого вида деятельности.
Производительность крана определяется скоростью насоса, если вы посмотрите на рекомендованый поток у легких кранов фасси : 25-40 литров в минуту и сравните ее с потоками на лесных кранах 60 -120 литров, вам станет ясно их отношение
Лесные и металовозные краны отличаются большей массой и конструктивно разительно отличаются от обычных КМУ Фасси. Длинная рукоять и короткий телескоп, гидроцилиндры спрятаные от возможных ударов, сдвоенное поворотное устройство - все это позволяет работать крану динамично без бережного обращения к грузу. Ресурс таких кранов обычно значительно больше
Если вы не планируете ежедневно и посменно работать с лесом или металлоломом, а грейфер вам нужен изредка то и фасси с этим справится. Гарантия на грейферный кран ограничена 6 месяцами. Для ускорения работы с ковшом фасси разработал двухконтурную систему управления с кресла, где оператор работает 2-мя педалями и 2-мя джойстиками. Два насоса по 40 литров позволяют совмещать движения и опытный оператор может добится хороших показателей . Такая система является типовой для кранов серии fassi as, смотрите фото ниже. Такие краны популярны в европе для доставки палетных грузов которые можно взять захватом, без помощи строп. для нашего рынка они пока дороговаты
Производительность крана определяется скоростью насоса, если вы посмотрите на рекомендованый поток у легких кранов фасси : 25-40 литров в минуту и сравните ее с потоками на лесных кранах 60 -120 литров, вам станет ясно их отношение
Лесные и металовозные краны отличаются большей массой и конструктивно разительно отличаются от обычных КМУ Фасси. Длинная рукоять и короткий телескоп, гидроцилиндры спрятаные от возможных ударов, сдвоенное поворотное устройство - все это позволяет работать крану динамично без бережного обращения к грузу. Ресурс таких кранов обычно значительно больше
Если вы не планируете ежедневно и посменно работать с лесом или металлоломом, а грейфер вам нужен изредка то и фасси с этим справится. Гарантия на грейферный кран ограничена 6 месяцами. Для ускорения работы с ковшом фасси разработал двухконтурную систему управления с кресла, где оператор работает 2-мя педалями и 2-мя джойстиками. Два насоса по 40 литров позволяют совмещать движения и опытный оператор может добится хороших показателей . Такая система является типовой для кранов серии fassi as, смотрите фото ниже. Такие краны популярны в европе для доставки палетных грузов которые можно взять захватом, без помощи строп. для нашего рынка они пока дороговаты


Если все-таки ваш заказчик занят исключительно лесозаготовками и металлоломом - стоит отдать предпочтение специальным кранам.




